成绩与分析

成绩管理更高效 · 数据分析更深入 · 复盘决策更精准

全流程成绩管理,一站式数据分析

管理端支持批量处理与复核,考生端可随时查看成绩与详情,满足不同角色的需求。

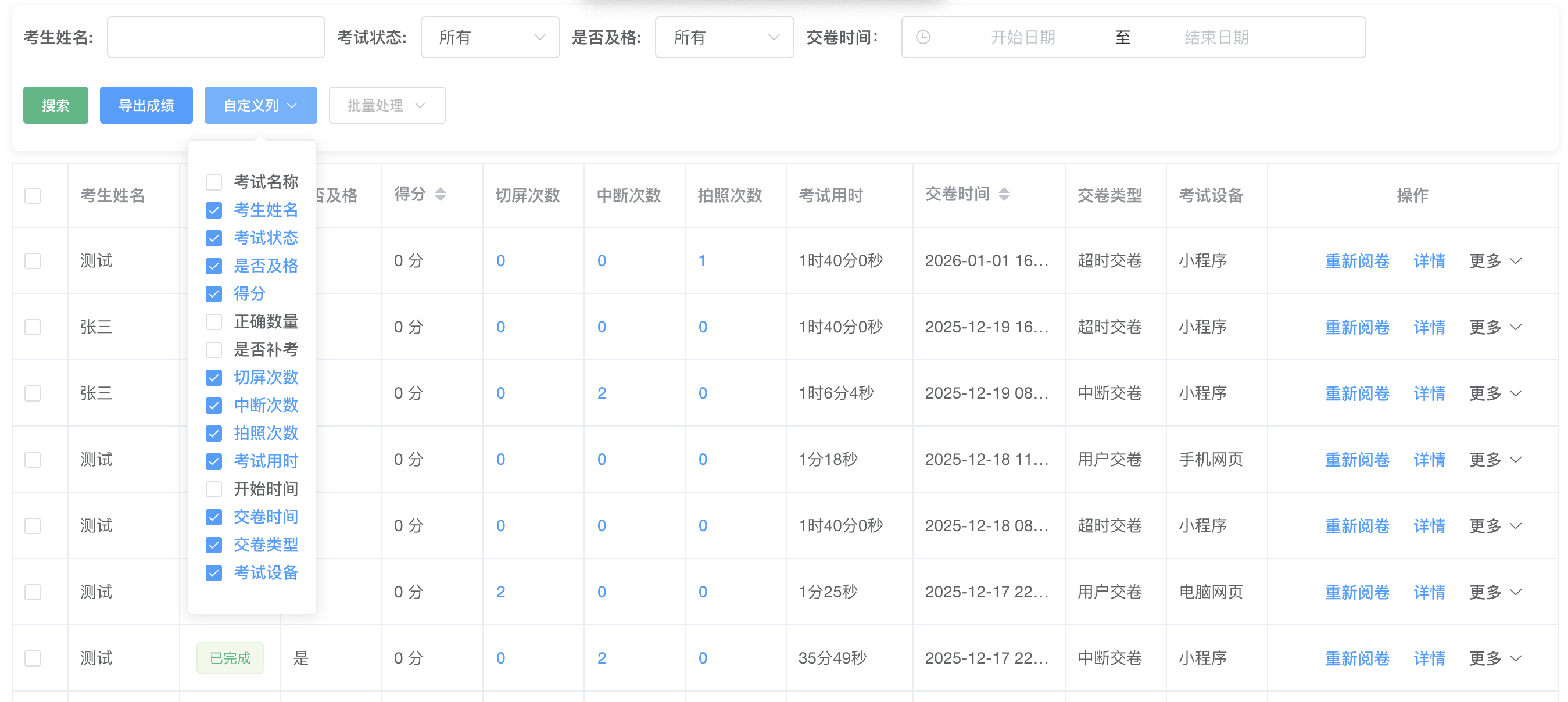
成绩管理

  • 成绩列表一目了然,支持自定义字段展示
  • 查看答卷详情,支持在线批改与复核
  • 支持数据导出与补考设置,业务流程更完整

分析复盘

  • 考试分析:掌握整体表现与关键指标
  • 练习分析:识别易错点与薄弱环节
  • 数据驱动优化题库与培训策略
成绩管理

全流程成绩管理,操作更高效

成绩页面支持从列表查询、详情查看到批改、导出、补考的一站式处理。 复核时可快速定位到具体答题记录,提升工作效率。

  • 自定义字段:按企业需求定制信息展示
  • 答卷详情:逐题查看作答内容与得分情况
  • 批改/导出/补考:业务流程更完整规范
成绩管理中心 姓名 部门 分数 状态 操作 张三 技术部 92分 及格 详情 李四 市场部 58分 不及格 补考 王五 销售部 85分 及格 详情 赵六 财务部 72分 待复核 详情 1 2 3 ... 批量导出 设置补考 筛选
分析复盘

数据驱动决策,优化培训效果

分析页面帮助快速掌握整体表现,精准定位薄弱点与高频错误, 为题库优化与培训策略调整提供数据支撑。

  • 考试分析:掌握整体表现与关键指标
  • 练习分析:识别易错题与薄弱环节
  • 持续提升:以数据驱动题库与培训优化
试题分析报告 总题数 50 正确率 76% 平均用时 45s 答题人数 128 题型分布 单选题 20题 多选题 10题 判断题 15题 填空题 5题 正确率排行 1. 判断题:... 95% 2. 单选题:... 88% 3. 多选题:... 42% 4. 填空题:... 76% 红色: 低正确率(≤50%) 绿色: 高正确率(≥80%) 导出报告
分数分析

分数段可视化,整体表现一目了然

分数段分析以折线图展示成绩分布,横坐标为分数段,纵坐标为对应人数。 通过直观的分布曲线,快速了解整体通过率、优秀占比以及分数集中区间。

  • 分布可视化:折线图清晰展示分数分布趋势
  • 关键指标:快速识别及格率、优秀率等核心数据
  • 辅助决策:为难度调整与培训优化提供依据
分数段分布图 50 40 30 20 10 0 0-20分 20-40分 40-60分 60-80分 80-100分 人数 及格率 68% 优秀率 42% 平均分 71.5 参考人数 90

成绩管理功能预览

成绩列表 / 自定义字段 / 答卷详情